Click for technic details

Design & manufacture: API 6D, API 608, ANSI B16.34, BS5351
Face to face: ANSI B16.10
Pressure-Temperature: ANSI B16.34
Inspection and test: API 598
Flanged ends: ANSI B16.5, API 605, MSS-SP-44
BW ends: ANSI B16.25
Fire safe & anti-static
|
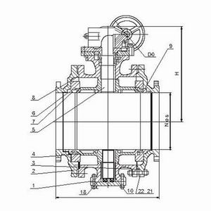
Body & Bonnet |
Cast Steel ASTM A216 WCB, Stainless Steel ASTM A351 CF8, CF8M, CF3, CF3M |
|
Ball |
A105, F304, CF8(M), CF3(M) |
|
Stem |
F6, F304(L), F316(L) |
|
Seat |
F6, F304(L), F316(L) |
|
Seat ring |
PTFE, POM, HF(Co-CrA) |
|
DN |
L mm |
H mm |
D0 mm |
Weight kg |
|
150 lbs |
|
50 |
178 |
153 |
400 |
15 |
|
65 |
191 |
165 |
400 |
19 |
|
80 |
203 |
195 |
600 |
38 |
|
100 |
229 |
213 |
850 |
65 |
|
150 |
394 |
272 |
1100 |
97 |
|
200 |
457 |
342 |
1500 |
160 |
|
250 |
533 |
495 |
350 |
240 |
|
300 |
610 |
580 |
350 |
390 |
|
350 |
686 |
625 |
600 |
510 |
|
400 |
762 |
720 |
600 |
750 |
|
450 |
864 |
790 |
800 |
895 |
|
500 |
914 |
840 |
800 |
1190 |
|
600 |
1067 |
1050 |
800 |
2100 |
|
700 |
1245 |
1150 |
800 |
3000 |